Circuit Diagram Working Of Smoke Detector - The two sensors are basically identical;

Circuit Diagram Working Of Smoke Detector - The two sensors are basically identical;. In this undertaking, we are executing a basic smoke detector alarm circuit utilizing basic equipment. Smoke detectors are very useful in detecting smoke or fire in buildings, and so are the important safety parameters. A detailed decription of smoke detector circuit. Set an ldr and a 12v bulb right next to it, we can adjust the distance between them as. Smoke detector circuit diagram below does not use smoke detector is built using lm1801 chip which facilitates building using a minimum of components.

555 timer based smoke detector circuit diagram and its working. It uses 12v power supply to work, you may use batteries or accumulator or dc power supply for powering the circuit. The transistor operating properties are being used to work in the circuit of the smoke detection. Introduction to optical smoke detector, project concept, block diagram, components required, circuit diagram, working principle. Set an ldr and a 12v bulb right next to it, we can adjust the distance between them as.

Duct Smoke Detector Wiring Diagram | Free Wiring Diagram
Duct Smoke Detector Wiring Diagram | Free Wiring Diagram from ricardolevinsmorales.com
Working of this smoke detector alarm circuit is easy. A detailed decription of smoke detector circuit. The article is divided into information about smoke sensor, circuit diagram and working. They can prevent large damage caused by fires and even save lives if they detect click this link or the image below to see the wiring diagram for the smoke and gas detector circuit. Introduction to optical smoke detector, project concept, block diagram, components required, circuit diagram, working principle. These days, smoke alarms and smoke cautions are modest as its use is expanding and the expense of assembling is diminishing. It uses 12v power supply to work, you may use batteries or accumulator or dc power supply for powering the circuit. The sensitivity of the smoke detector depends on the distance between bulb and ldr as well as setting of preset vr1.

Design of smoke detection circuit.

In this diy session, we we have made the circuit and pcb design of this smoke detector shield public, so you can just follow the link to access the circuit diagram and pcb layouts. These days, smoke alarms and smoke cautions are modest as its use is expanding and the expense of assembling is diminishing. The sensitivity of the smoke detector depends on the distance between bulb and ldr as well as setting of preset vr1. A smoke detector circuit is an essential system when it comes to maintain safety precaution for any establishment. The sensitivity of the smoke detector depends on the distance between bulb and ldr. Smoke detectors are very useful in detecting smoke or fire in buildings, and so are the important safety parameters. These smoke detectors detect smoke as the fire breakout and invoke an early alarm. The working of this circuits starts with ldr which is the smoke sensing element and a light bulb. Diode d1 rectifies voltage, r7 reducing voltage at. A newbie s overview of circuit diagrams. Maximum area one smoke detector covered w as 50m2 a nd the. Every year these detectors save thousands of lives due to this, it is recommended for every home. The concept of the work was on smoke alarm, using photoelectric sensor and uhf rf module e.

This home smoke detector circuit warns the user against fire accidents. It uses 12v power supply to work, you may use batteries or accumulator or dc power supply for powering the circuit. The sensitivity of the smoke detector depends on the distance between bulb and ldr as well as setting of preset vr1. The sensitivity of the smoke detector depends on the distance between bulb and ldr. Now a days, smoke detectors and smoke alarms are very cheap as its usage is increasing and cost of manufacturing is decreasing.

How smoke detectors work - Explain that Stuff
How smoke detectors work - Explain that Stuff from cdn4.explainthatstuff.com
Now a days, smoke detectors and smoke alarms are very cheap as its usage is increasing and cost of manufacturing is decreasing. It relies on the smoke that is produced in the event of a fire and passes between a bulb and an ldr an internal oscillator strobes power to the smoke detection circuitry every 10 seconds, to keep the standby current to a minimum. Arduino gas leakage detection and sms alert. We used a gas/smoke sensor for detecting smoke. These days, smoke alarms and smoke cautions are modest as its use is expanding and the expense of assembling is diminishing. Smoke detector wiring basics, how to make connections the right way. This home smoke detector circuit warns the user against fire accidents. Introduction to optical smoke detector, project concept, block diagram, components required, circuit diagram, working principle.

The main differences lie in the heater.

The concept of the work was on smoke alarm, using photoelectric sensor and uhf rf module e. Working of this smoke detector alarm circuit is easy. In this undertaking, we are executing a basic smoke detector alarm circuit utilizing basic equipment. Gas and smoke detectors are a very useful and affordable build. In this circuit, we have used an mq2/mq6 smoke or gas sensor module for detect smoke present in the air. It relies on the smoke that is produced in the event of a fire and passes between a bulb and an ldr an internal oscillator strobes power to the smoke detection circuitry every 10 seconds, to keep the standby current to a minimum. There are two things that will be found in any smoke detector wiring diagram. Smoke detector circuit without using sensor but only uses ldr and sensing smoke or fire using incident light. The article is divided into information about smoke sensor, circuit diagram and working. Smoke detector wiring basics, how to make connections the right way. We used a gas/smoke sensor for detecting smoke. Building a smoke detector is cheap, yet very much effective. Now a days, smoke detectors and smoke alarms are very cheap as its usage is increasing and cost of manufacturing is decreasing.

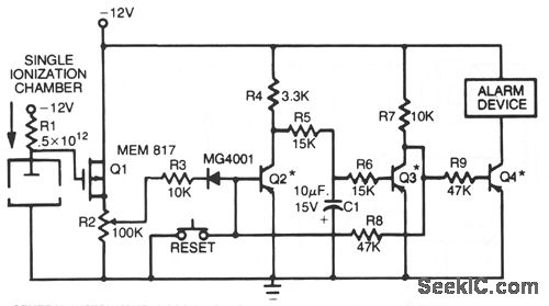
If you want to see a detailed step by step wiring. Explained working of tors r3, r4 and capacitor c1. The article is divided into information about smoke sensor, circuit diagram and working. The working of this circuits starts with ldr which is the smoke sensing element and a light bulb. Every year these detectors save thousands of lives due to this, it is recommended for every home.

Fire Alarm Wiring Diagram Uk - Wiring Diagram
Fire Alarm Wiring Diagram Uk - Wiring Diagram from static-cdn.imageservice.cloud
There are two things that will be found in any smoke detector wiring diagram. A first check out a circuit layout might now s the enjoyable things. The led predriver output pulses an external. The first element is emblem that indicate electrical element in the circuit. Gas and smoke detectors are a very useful and affordable build. They can prevent large damage caused by fires and even save lives if they detect click this link or the image below to see the wiring diagram for the smoke and gas detector circuit. Circuit diagram of this smoke detector project is given below: These smoke detectors detect smoke as the fire breakout and invoke an early alarm.

Every year these detectors save thousands of lives due to this, it is recommended for every home.

This way, before the fire spreads to other parts of the building, people can be evacuated and countermeasures can be done immediately. This home smoke detector circuit warns the user against fire accidents. Smoke detectors are very useful in detecting smoke or fire in buildings, and so are the important safety parameters. The present concept of smoke alarms is based on this saying and exploits the fact that every fire. The circuit is having the mq6 smoke also known as the gas sensor gadget which is used for the smoke or fire detecting in the air. Explained working of tors r3, r4 and capacitor c1. The simple schematic diagram of a smoke detector presented here utilizes the gas sensor tgs 813 as the main detecting component. The theory of the design was based on the working. Wiring diagram smoke alarms inspirationa smoke detector wiring. A first check out a circuit layout might now s the enjoyable things. The circuit diagram for gas detector and smoke detector separated in different circuit design diagram which can be downloaded from the provided link. In this undertaking, we are executing a basic smoke detector alarm circuit utilizing basic equipment. The transistor operating properties are being used to work in the circuit of the smoke detection.

Related : Circuit Diagram Working Of Smoke Detector - The two sensors are basically identical;.